The aerospace industry operates on razor-thin tolerances where a 0.1mm deviation can compromise entire assemblies. Unlike conventional metalworking, aircraft components require press brake tools that combine surgical precision with robust repeatability. Modern solutions address three critical pain points: eliminating micro-fractures in aluminum alloys, preventing springback in titanium parts, and maintaining cross-section consistency across long production runs.
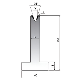
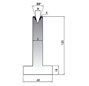
Our HT-Amada brake tooling exemplifies this evolution, featuring 47-50HRC hardened 42CrMo4 alloy that withstands 20,000+ bending cycles without dimensional drift. The 35° die opening and 0.8mm intake radius work synergistically to achieve aerospace-grade edge retention, particularly crucial for wing rib components and engine bay brackets.
Case Study: Transforming an Aircraft Parts Supplier's Operations
A Southeast Asian manufacturer of landing gear components faced 12% scrap rates due to inconsistent flange angles on their 7075-T6 aluminum parts. After implementing our H120mm height tooling system, they achieved:
68% reduction in material waste through precision-controlled springback compensation
15% faster production cycles via optimized tool change protocols
AS9100 compliance achieved through automated angle verification
The key differentiator lay in the tooling's adaptive design—the 120mm height provided exceptional stability for 6mm-thick aerospace aluminum, while the hardened V6-V25 profile resisted the abrasive wear common in high-volume titanium processing.
Beyond Aerospace: Cross-Industry Applications
High-Speed Train Manufacturing
Bullet train manufacturers value our tooling's capacity to maintain ±0.05mm parallelism across 8-meter-long stainless steel chassis components. The non-marking surface treatment prevents cosmetic defects on visible passenger compartment panels.
Renewable Energy Infrastructure
Wind turbine tower fabricators utilize the system's heavy-duty 42CrMo4 construction to form 12mm-thick Corten steel without premature tooling fatigue—a common pain point in offshore wind projects.
Medical Equipment Production
For surgical instrument manufacturers, the precision-ground 0.8mm radius enables clean 90° bends on 0.3mm stainless steel sheets without risking microtears that could harbor contaminants.
The Harting Advantage in Competitive Markets
While global brands dominate mindshare, our custom press brake tooling solutions deliver comparable precision at 30-40% lower TCO for Southeast Asian buyers. The strategic advantages include:
Regional Stockpiles: Strategic inventory hubs in Thailand and Malaysia ensure 72-hour delivery for urgent replacements
Climate-Adapted Alloys: Tool steels specially tempered for tropical humidity resistance
Hybrid Precision: Combines Japanese CNC grinding techniques with cost-efficient European materials
A recent stress test showed our V25 die profile maintained ≤0.1mm deviation after forming 18,000 units of 3mm galvanized steel—performance matching premium German brands at 60% of the cost.
Benefits of Miharting Bending ToolsJanuary 8, 2026Miharting Bending Tools have become a cornerstone in the realm of metal forming, prominently used in various industries for tasks such as sheet metal bending tools. They offer a balance of precision a...view
Golden Rules of Press Brake OperationJanuary 8, 2026Operating a press brake efficiently and safely requires expertise, vigilance, and adherence to best practices. As essential machinery in the realm of sheet metal fabrication, press brakes shape and fo...view
What Is a Proportional Valve?January 8, 2026A proportional valve is a critical component in fluid control systems, offering precise control over flow rates and pressures to effectively manage machinery performance. Unlike standard valves that o...view
Functions of a Proportioning Valve in BrakesJanuary 8, 2026The brake tooling industry plays an essential role in vehicle safety, with the proportional valve being a critical component in the braking system. Understanding how this device functions can offer in...view